Model
Search parts for your vehicle

We found your bike is one of ours — please enter your frame number to find the exact model.

- Return to bike

Diablo 50 Euro 5 (LJ50QT-9M-E5)

Ref
Code
Part Name
Qty
Price
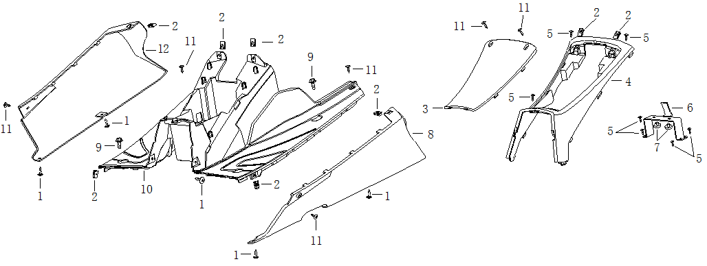
3
BTYBX052
Battery Box Lid for LJ125T-8M
BTYBX052
1
£13.49
View
4
BTYBX027
Battery Box/Holder for LJ125T-8M
BTYBX027
1
£8.99
View
6
BTYB019
Battery Bracket for LJ125T-8M
BTYB019
1
£10.49
View
8, 8
PNLSLL193
Lower Left Black Side Panel for LJ125T-8M-E4, LJ50QT-9M, LJ50QT-9M-E5
PNLSLL193
1
£24.49
View
10
PNLFW026
Footwell Panel for LJ125T-8M
PNLFW026
1
£20.49
View
12, 12
PNLSLR197
Lower Right Matt Black Side Panel for LJ125T-8M-E4, LJ50QT-9M, LJ50QT-9M-E5
PNLSLR197
1
£21.49
View