Model
Search parts for your vehicle
- Return to bike

Tempest GT 125 Euro 5 (LJ125-9A-GT-E5)

Ref
Code
Part Name
Qty
Price
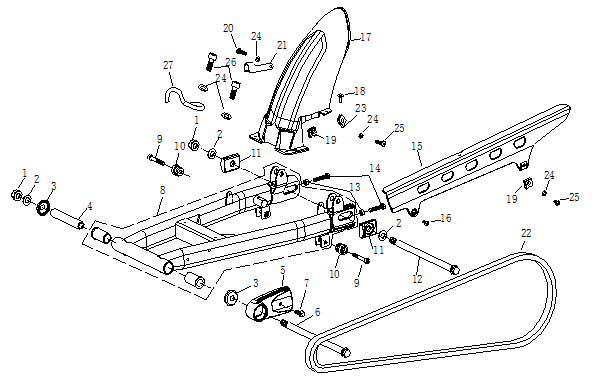
1
NUT109
Swinging Arm Spindle Nut M14 x 1.5mm
NUT109
1
£6.49
View
3
DSEAL052
Swing Arm Dust Seals
DSEAL052
1
£3.99
View
4
SPCR047
Swinging Arm Spacer
SPCR047
1
£7.49
View
5
CHNGR037
Rubber Chain Guide
CHNGR037
1
£4.49
View
6
SWNGS039
Swinging Arm Spindle
SWNGS039
1
£9.99
View
8
SWNG135
Swingarm
SWNG135
1
£54.99
View
8
SWNG083
Swingarm for LJ125-9A-GT, LJ125-9A-GT-E5
SWNG083
1
£50.99
View
11, 13, 14
CHNA007
Chain Adjuster
CHNA007
1
£10.49
View
13
CHNA058
Chain Adjuster Nut M8
CHNA058
1
£1.99
View
15
CHNG009
Chain Guard
CHNG009
1
£11.99
View
16
BLT187
Fairing Bolts (each) M6 x 12mm
BLT187
1
£6.49
View
17
HGR043
Rear Wheel Hugger for LJ125-9A, LJ125-9A-GT, LJ125-9A-GT-E5, LJ125-9A-E5
HGR043
1
£17.49
View
25
BLTA107
Hex Socket Button Bolt M6 x 16mm
BLTA107
1
£3.49
View