Model
Search parts for your vehicle

We found your bike is one of ours — please enter your frame number to find the exact model.

- Return to bike

Adrenaline 125 (XFLM125GY-2B)

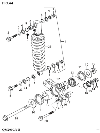
Ref
Code
Part Name
Qty
Price
11
OLSL063
Oil Seal 38 x 48 x 4mm
OLSL063
1
£6.49
View
13
BRGN005
Needle Bearing HK38/48/25 38 x 48mm
BRGN005
1
£7.99
View
14
WSH016
Stepped Washer M12
WSH016
1
£4.99
View
15
SEAL227
Rear Shock Linkage Rubber Dust Cover 18 x 26 x 2mm
SEAL227
1
£13.49
View
16
CCLP010
Rear Shock Linkage Circlip 26mm
CCLP010
1
£14.99
View
18
BLT688
Flanged Hex Bolt With Shank M14 x 128mm
BLT688
1
£8.99
View
19
NUT166
Flanged Lock Nut M14 x 1.5mm
NUT166
1
£1.99
View
21
NUT159
Fine Nut M12 x 1.5mm
NUT159
1
£5.49
View
22
SHKL002
Rear Shock Linkage
SHKL002
1
£57.99
View