Model
Search parts for your vehicle

We found your bike is one of ours — please enter your frame number to find the exact model.

- Return to bike

Aspire 125 (TD125-43)

Ref
Code
Part Name
Qty
Price
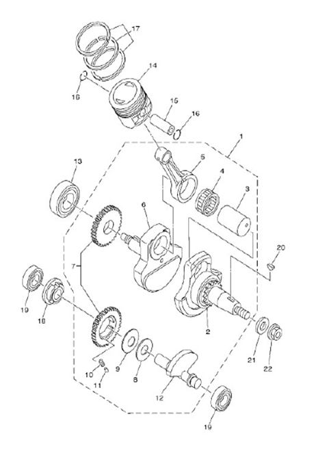
14
PST026
125cc Piston 154FMI, 156FMI
PST026
1
£19.49
View
15
GDP018
15mm Gudgeon Pin
GDP018
1
£7.99
View
17
PSTR026
125cc Piston Rings 154FMI for STR125YB
PSTR026
1
£19.49
View
19
BRG016
Open Bearing 6102 35 x 15 x 11mm
BRG016
1
£7.99
View