Model
Search parts for your vehicle

We found your bike is one of ours — please enter your frame number to find the exact model.

- Return to bike

Milano 125 (FT125T-27)

Ref
Code
Part Name
Qty
Price
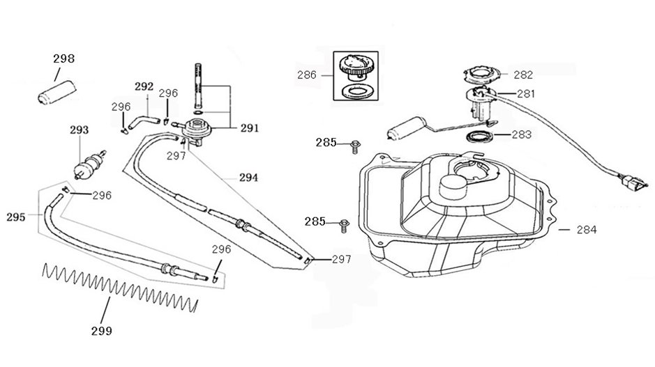
282
WSHLK015
Scooter Fuel Level Sensor Lock Washer
WSHLK015
1
£2.49
View
283
SEAL149
Fuel Level Sensor Seal
SEAL149
1
£2.49
View
286
FLCP004
Fuel Cap
FLCP004
1
£16.49
View
291
FLTP002
Tank Mounted Fuel Tap
FLTP002
1
£13.49
View