Model
Search parts for your vehicle

We found your bike is one of ours — please enter your frame number to find the exact model.

- Return to bike

Hawk 125 (XGJ125-28)

Ref
Code
Part Name
Qty
Price
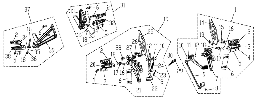
19
FPWBR042
Right Rider Footpeg With Bracket for XGJ125-28, MT125RR
FPWBR042
1
£45.49
View
31
FPWBL074
Left Pillion Footpeg with Bracket for XGJ125-28, MT125RR
FPWBL074
1
£21.99
View