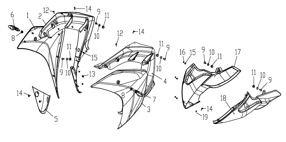
Model
Search parts for your vehicle

We found your bike is one of ours — please enter your frame number to find the exact model.

- Return to bike

Hawk 125 (XGJ125-28)

Ref
Code
Part Name
Qty
Price
17
PNLBR010
Right Red/White Belly Panel for XGJ125-28
PNLBR010
1
£28.99
View