Model
Search parts for your vehicle

We found your bike is one of ours — please enter your frame number to find the exact model.

- Return to bike

D2 E55 (GC125T-3A-E55)

Ref
Code
Part Name
Qty
Price
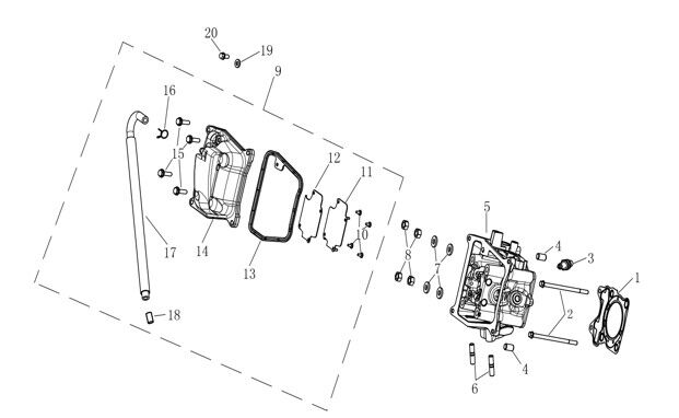
1
GSKH070
Cylinder Head Gasket
GSKH070
1
£3.49
View
2
BLTCH025
Cylinder Head Bolts M6 X 95mm
BLTCH025
1
£8.99
View
3
SPRK055
Spark Plug B8RC
SPRK055
1
£23.99
View
4
DWL010
Engine Dowel 10 x 16mm
DWL010
1
£4.99
View
5
CYLH123
Cylinder Head
CYLH123
1
£47.49
View
6
STD023
Exhaust Stud M8 x 35mm for MH125GY-15, MH125GY-15H
STD023
1
£1.99
View
11
GSKH072
Cylinder Head Gasket Plate
GSKH072
1
£2.49
View
12
GSKH071
Cylinder Head Gasket
GSKH071
1
£1.99
View
13
GSKH073
Cylinder Head Gasket
GSKH073
1
£4.49
View
14
CYLHC027
Cylinder Head Cover
CYLHC027
1
£14.49
View
15
BLTCH026
Bolt M6 x 22mm
BLTCH026
1
£8.99
View
17
PPB061
Breather Pipe 385 X 12.5 X 7mm
PPB061
1
£4.99
View